首页
关于我们
企业简介
发展历程
企业定位
价值观 & 客户理念
总经理理论创新
管理团队
订单交付理念
工厂证书 & 信息化
企业荣誉
知识产权
社会责任
顶尖电源大家庭
福利与晋升
足球俱乐部
集团公司
产品
充电器
储能逆变器
电子制造服务
线束加工
变压器和电感
五金制造与加工
铭板与充电器配件
产品应用领域
电动出行
电动自行车
电动摩托车
电动清洁设备
电动高尔夫球车
电动区间运输地勤设备
轻型电动车
物流搬运设备
电动工程器械
高空作业平台
AGV / AMR
其他无人机和机器人
电动草坪护理设备
电动雪地运动设备
电动水上运动设备
可移动式交通信号灯
电动工具
地面打磨机
电池行业
工厂
充电器
电子制造服务
线束加工
变压器和电感
五金制造与加工
铭板与充电器配件
研发
研发团队
工程实验室
安规 & EMC测试
研发PPT · CHECK理论
研发ESTQC理论
校企合作
前沿技术
合作伙伴
全球合作伙伴战略
现有合作伙伴
现有客户评价
成为经销商
新闻 & 活动
企业事件 & 新闻
全球展会
资讯下载
联系我们
下载
规格书下载
规格书下载
规格书下载
规格书下载
规格书下载
规格书下载
规格书下载
规格书下载
规格书下载
规格书下载
规格书下载
规格书下载
规格书下载
规格书下载
规格书下载
规格书下载
产品详情页下载
产品设计奖下载
说明书下载
企业宣传册下载
展会资料下载
CN
EN
充电器
首页
·
充电器
充电器
工厂一览
前台
会议室
生产车间
研发部
办公室
老化房
PCBA工厂-1
PCBA工厂-2
PCBA工厂-3
工程实验室
可靠性测试设备
EMC测试-1
EMC测试-2
EMC测试-3
线材摇摆测试
跌落测试
盐雾测试
ATE自动化测试
高压测试
恒温恒湿环境模拟
运输震动测试
自动化生产设备
全数字智能电脑裁线机
全数字智能捻线沾锡压接机
全数字智能两端捻线沾锡机
液压端子机
超静音半自动端子机
在线式自动点胶机
自动灌胶机
三防漆自动涂敷机
自动锁螺丝平台
自动焊锡机
信息化建设
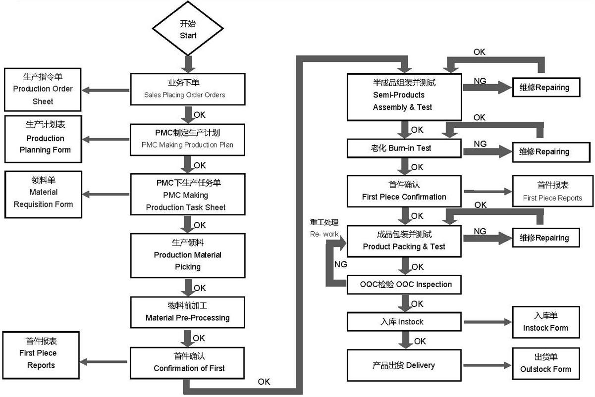
生产流程图